新闻资讯
随着电子器件在汽车和其他产品上的应用越来越广泛(智能化),芯片的集成度也越来越高、体形也越来越小、研发的难度也越来越高,这些器件通常具有线间距短、线细、集成度高、运算速度快、功耗低和高输入阻抗的特点,这也导致了这类器件对静电的要求越来越高。其中涉及到的标准为:ESD SP5.5.1-2004、ISO7637-2、GB/T.21437.2、ECER10.05 6.9、IEC62615:2010。
其中在很多器件的ESD性能,都会使用TLP 测试,除了使用标准的TLP脉冲发生器之外,还需要使用示波器对其脉冲进行测量。
TLP测试
TLP(Transmission Line Pulse)测试又称为传输线脉冲测试,是对静电防护半导体器件进行描述的一种常用方法。1985年由Maloney等人就提出的ESD模拟方法,与传统的HBM、MM、CDM、IEC模型不同,传输线脉冲发生器发出的是静电模拟方波,而传统模式发出的则是RC-LC模式的脉冲波形。
对于其他(CDM、HBM、MM等)的静电模型,在相同损伤能量下,TLP与各种静电模型均有近似的等效关系,同时考虑到上升沿的触发效应,因此,一般会使用相近的脉宽和上升沿进行等效,通过进一步的影响评估,即可确认合适的不同模型静电等效方波,通过方波测出上述曲线,即可用于该静电模型下的ESD防护设计仿真,利用测试波形结果中的开启-关断特性,即可知道器件在相应模型下的响应情况。而对于IEC、火花放电等两/三阶段模型则需要通过分阶段(如超快阶段和普通阶段)进行测试分析。

TLP的特点
不模拟真实静电放电
记录被测的故障等级和特性
Characterization/表征测试
换言之,TLP设备可模拟各种形式的ESD脉冲,在静电损伤和上升沿触发两方面都可以提供近似的模拟,因此,也可以认为两者是一致的。而在这种近似认同下,则TLP可以提供ESD过程中的IV、IT、VT三种不同的关键曲线,而这种曲线是其它模型所不能提供的。
需要注意的是:TLP脉冲式方波,与真实情况有一定的出入,虽然可以近似模拟,但总是会有一定的差别,完全采信TLP结果,可能会导致考核值与其它厂家的设备有一定的差异,更有甚者,由于芯片的电荷存储效应,不同厂家的ESD测试设备之间测试结果也有一定的差异;此外,TLP系统是超快脉冲,轻微的寄生即可导致波形畸变,多通道的TLP系统在实现上难度较大,因此,替换常规ESD测试设备的可行性较弱。
测试
利用传输线产生的矩形短脉冲来测量ESD保护元件的电流-电压特性曲线的方法,通过将悬空电缆充电至预定电压并将其放电至被测器件(DUT)来生成方波。通过改变电缆长度和滤波器特性,很容易改变脉冲宽度和上升时间。
充电电压源(VHV)提供额定能量,给传输线(TL)充电,产生一个窄方波(75ns~200ns)当开关S闭合时,被测器件(DUT)接入传输线路,产生的窄方波被作用到DUT的保护结构上。通过示波器获取的测量值,再根据运算得到DUT两端的电压和电流值。
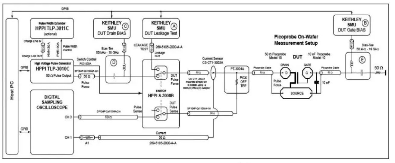
其中,我们会使用TLP发生器产生相关的脉冲信号,使用示波器对DUT的电压电流进行监控测试,测试配置参考下图。由于脉冲信号的脉宽非常窄,同时信号上升时间为ns级,所以我们需要配置合适的示波器和相应的探头进行测试,根据IEC61000-4-2给出的说明,这里我们需要配置1GHz测量带宽的示波器和探头。

而对于VF-TLP测试对信号的要求更高,此时我们需要配置衰减器,高带宽的短电缆,和高带宽的示波器去完成相应的测试,测试仪器的带宽甚至要求达到20GHz左右。
以下是各个ESD模型的经验对比值,当然这个经验值有时是值得商榷的。
TLP的It2*1500Ω=HBM值
MM*(9~10)=HBM
IEC+(1.3k~2k)=HBM
具体的测试步骤可以参考以下说明:
1.使用TLP pulser发出脉冲,使用示波器和对应的探头、测试线缆、衰减器等测试DUT端对应的电压电流,描绘响应的曲线。TLP Pulser打出指定电压V1的脉冲,示波器记录下电流I1。

2.将测试线缆切换到SMU上测试DUT对应的漏电流。利用IFIM(Force I Measure I)功能,Force电流I1,测量得到Leakage1。

3.重复上述步骤,描绘对应的曲线,直至得到漏电流偏折点。

发布日期: 2026-01-20
发布日期: 2023-12-13
发布日期: 2023-07-04
发布日期: 2024-09-10
发布日期: 2024-04-28
发布日期: 2023-12-04
发布日期: 2024-05-23
发布日期: 2023-12-09
发布日期: 2026-01-28
发布日期: 2026-01-28
发布日期: 2026-01-28
发布日期: 2026-01-28
发布日期: 2026-01-28