新闻资讯
正常运行时间是工业自动化、楼宇自动化、运动控制和过程控制等应用中保障生产力和盈利能力的关键指标。执行维护、人为失误和设备故障都会导致停机。与停机相关的维修成本和生产力损失可能非常高,具体取决于行业和事件的性质。与维护和人为失误相关的停机无法避免,但大多数与设备相关的故障是可以预防的。本文重点介绍由电源故障引起的停机,以及如何在设备的电源系统中使用现代保护IC来防止发生电源故障。
问题:
有没有一种简单的方法可以保护电源设计免受故障影响?
答案:
有的,可以使用 MAX17613 和 MAX17526 等集成电路。
简介
正常运行时间是工业自动化、楼宇自动化、运动控制和过程控制等应用中保障生产力和盈利能力的关键指标。执行维护、人为失误和设备故障都会导致停机。与停机相关的维修成本和生产力损失可能非常高,具体取决于行业和事件的性质。与维护和人为失误相关的停机无法避免,但大多数与设备相关的故障是可以预防的。本文重点介绍由电源故障引起的停机,以及如何在设备的电源系统中使用现代保护IC来防止发生电源故障。
系统电源保护概述
电源系统会受到许多电应力因素和故障的影响。沿着电气路径,雷击或电感性负载切换导致的电压浪涌和瞬变、存储电容的初始充电导致的冲击电流、接线错误或线束意外短路导致的反向电压、过流和过热,都可能造成性能退化或不可逆转的损害。有必要在负载周围建立一个保护范围,以处理这些潜在的灾难性事件。本文将讨论一些常见术语、电源故障类型、可用的传统解决方案及其挑战,以及现代保护IC及其优势。
常用术语
除了分立解决方案,还有许多提供单一功能保护的集成解决方案。例如,浪涌保护器(或过压保护器)提供防浪涌电压保护;热插拔控制器(或冲击限制器)可以防范冲击电流影响;ORing控制器(或理想二极管控制器)可以防止反向电压并提供电源分配;电子熔断器(或限流器)可以防止短路或过载;功率限制器/负载开关/USB开关/电源选择器为具有多个输入电源和/或多个负载的系统提供管理和控制功能。图1展示了这些产品,均可用于提供系统电源保护。然而,它们仅提供部分解决方案来保护系统免受电压、电流或温度故障的影响。因此需要一个整体解决方案来提供完整、全面的系统电源保护。

图1.各种单功能保护解决方案
需要提供系统电源保护的应用
图2展示了一个通用系统板电源分配。该板从三个独立的输入电源接收电力,为一个大保持电容充电,产生自用电路板电源,并将电力传送给两个后续外围设备。此系统板的输入端和输出端均需要多种电源保护和配电功能。

图2.通用系统板电源分配
在输入电源保护方面,它需要过压/欠压、电子熔断器、冲击限制和反向电压保护。如果此板由一个功率有限的电源供电,则它还需要功率限制功能。
由于该板从三个不同电源接收电力,因此需要电源ORing或电源多路复用器。电源ORing自动选择电压最高的电源为电路板供电,而电源复用允许系统选择使用哪个电源,无论其电压如何,只要它在工作范围内即可。该板还需要反向电压保护,这样较高电压的电源就不会反向驱动较低电压的电源。
现在,对于输出电源保护,该板需要限流保护以防止输出过载或连接器短路,需要反向电压保护以防止意外短接到较高电压轨。为了管理输出电源分配,该板需要负载开关、ORing和功率限制功能。
系统电源故障的三种主要类型
系统电源故障主要分为三类(见图3):电压故障、电流故障和温度故障。下面详细讨论每一种故障类型。

图3.系统故障的三种主要类型
电压故障:由于雷击、保险丝熔断、短路、热插拔事件、电缆感应振铃等多种不同事件,输入电压可能高于和/或低于正常直流电压范围。
雷击可能导致高能浪涌电压,这通常由前端瞬变电压抑制器(TVS)和输入滤波器处理。图4总结了IEC 61000-4-4电快速瞬变规范。经过TVS和输入滤波器处理之后,系统板级的残余浪涌电压可能仍然很大,有时达到标称直流输入电压的两到三倍。

图4.IEC 61000-4-4电快速瞬变规范
图5演示了一个短路事件,10英尺电缆末端的短暂短路导致其电压振铃并达到50.4 V峰值,是其正常电压24 VDC的两倍。电压还振铃下降到约11 V。一个鲁棒的系统在整个振铃过程中会继续运行而不会中断,至少会不受损害地幸存下来。类似的电压振铃可能发生在感性负载切换事件期间,发生在热插拔事件期间(例如将一个带有放电电容的卡插入带电背板),或发生在系统中其他地方出现保险丝熔断的时候。

图5.短暂短路后的电缆振铃
系统接线错误很罕见,但仍可能发生。例如,在机架安装系统中,人们可能会反向插入卡或电源线极性连接错误。当输入电压突然下降(输入短路或低电平振铃)时,输出电容现在处于较高电位,会导致反向电压状况。当输出突然短接到较高电压轨(例如在集束电缆中)时,也会发生反向电压状况。虽然输入反向电压故障很少见,但一旦发生,就可能造成代价高昂的系统损坏。
电流故障:输出过载和短路是两种明显的电流故障。当系统超容量运行时,就会触发过流加载。至于短路,这可能是由电路板上的故障元件引起。如果有人不小心将扳手掉到电源连接器上或落入电缆束中,可能会发生严重短路事件。未受保护的电路板可能会遭受永久性损坏,更糟糕的是可能着火。
将带有放电电容的电路板插入带电背板时,会涌入一股电流为电容充电。不加控制时,此冲击电流遵循以下方程:
I = CdV/dt
其中:
I = 冲击电流
C = 电容
dV/dt = 电容电压随时间的变化率
如果将放电电容(0 V)插入24 V带电背板,这种情况下的dV/dt是瞬时的(无限大),转换为I = 无限大。如果没有冲击控制,这种非常高的电流尖峰会损坏连接器,熔断保险丝,并导致背板电压振铃。
当发生反向电压事件时,反向流动的电流可能造成系统严重损坏。图6展示了冲击/短路电流和反向电流。

图6.冲击/短路电流和反向电流
温度故障:如果设计得当,系统应能正常运行而不会出现温度故障。但是,某种初始故障状况(例如长时间过载情况、系统风扇失效或失灵、系统进气口/排气口意外阻塞或房间空调失效)可能会触发温度故障。
为防止系统受损和潜在的火灾相关问题,当系统或其元器件之一的温度达到危险水平时,过温保护会关断系统。与过温关断相比,热保护更智能。在运行期间,当某种初始故障导致温度升高到正常值以上时,热保护会向系统提供警告和处理方案。例如,系统可以选择去除非关键负载,以较低开关速度运行,从而降低功耗。这样,系统可以较低的性能运行,避免过热关断,直至初始故障得到解决。
未提供保护的系统影响和设计挑战
所有电气系统都会遇到电压、电流和热故障,因此在设计验证测试阶段,忽视保护功能可能会阻碍系统设计顺利完成。事实上,更糟糕的情况是工厂车间的生产线关停。全面保护设备免受故障损害的保护电路很有用,可尽量延长系统正常运行时间。
系统工程师若要全面保护其产品,必须解决一些设计挑战。分立或部分IC实现方案需要许多外部元件。图7展示了一个使用40个分立元器件的完整系统电源保护解决方案。元器件的容差叠加分析起来很繁琐。随着时间推移,无论是验证和确保其性能,还是实现系统精度以及对故障做出快速响应,都很困难。使用多个元器件的结果是解决方案尺寸很大。由于系统平均无故障时间(MTBF)很低,拥有成本很高。

图7.一个系统电源保护电路使用了40个分立元器件
简化系统保护
使用分立电路或部分IC实现保护的传统方法在过去可能效果不错,但它不适应现代系统。现代系统的电路板空间更小,开发时间更短,开发预算紧张。鉴于这种转变,更适合现代系统的保护解决方案是什么?它应是高集成度保护IC(见图8),需要集成场效应晶体管(FET)、电流检测/限流、功率限制、热保护和欠压/过压保护。此外,满足Underwriters Laboratories Inc./国际电工委员会(UL/IEC)安全要求的全集成式保护IC更胜一筹。更高的集成度与安全认证相结合,可为现代系统提供可靠保护。

图8.单芯片高集成度解决方案
保护IC示例和关键工作概念
ADI公司的MAX17613和MAX17526是符合现代系统要求的保护IC范例。
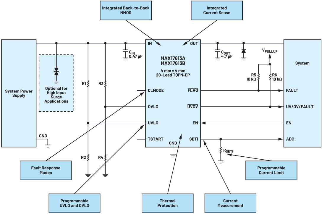
MAX17613(图9)是一款60 V/3 A保护IC,具备所有关键元器件和特性,例如正向和反向FET、可编程电流检测、热保护、可编程欠压闭锁(UVLO)和过压闭锁(OVLO),这些全都集成在单个IC中。它还有一个CLMODE引脚,用于选择IC对电流故障的响应模式——连续、闭锁还是自动重试模式。

图9.高集成度60 V/3 A保护IC
MAX17526(图10)是一款60 V/6 A保护IC,同时也是一款全集成式IC。此外,它还具有先进的保护特性,例如功率限制和热控电流折返。

图10.具有功率限制的高集成度60 V/6 A保护IC
现在,让我们以MAX17526为例详细考察几个关键特性。
如图11所示,MAX17526测量系统消耗的电流,并使用SETI引脚将其报告给系统控制器。电阻RSETI可以调整,以根据系统要求对限流水平进行编程。

图11.MAX17526的限流设置和监控功能
图12展示了MAX17526的限流功能以及它如何控制系统上电期间的冲击电流。一个1000 µF大电容以受控方式充电,左侧充电电流为电流限值的1.0倍,右侧充电电流为电流限值的2.0倍,而电压源不会崩溃。

图12.冲击电流保护
图13显示了MAX17526特有的功率限制特性,它可用于限制输入或输出功率,具体取决于节点VEXT连接到输入电压(VIN)还是输出电压(VOUT)。IC动态调整电流限值以实现对输入或输出功率的限制。

图13.功率限制保护
图14展示了当该IC配置为限制输出功率时,功率限制特性如何将输出功率限制在10 W。

图14.输出功率限制响应
UL/IEC安全认证
如前所述,现代系统也可以利用保护IC的所有安全合规性方面。通过UL 2367、IEC 60950或IEC 62368认证的保护IC可以简化系统级安全要求,从而降低认证相关成本并缩短认证时间,有助于加快产品上市。例如,ADI公司的 MAX17608 和 MAX17613 是通过UL和IEC认证的保护IC。
发布日期: 2024-10-31
发布日期: 2024-07-04
发布日期: 2024-05-29
发布日期: 2024-01-20
发布日期: 2024-11-29
发布日期: 2024-06-27
发布日期: 2024-05-21
发布日期: 2024-07-18
发布日期: 2025-12-12
发布日期: 2025-12-12
发布日期: 2025-12-12
发布日期: 2025-12-12
发布日期: 2025-12-12